Spoločnosť TESLA STROPKOV, a.s. rešpektuje ochranu vašich údajov

Táto internetová stránka používa technológiu cookies. Bližšie informácie o súboroch cookies nájdete v sekcii webstránky Cookies. Je Vaším právom neudeliť súhlas s používaním súborov cookies alebo ich používanie zablokovať. V takom prípade sa môže stať, že bude pre Vás obmedzená alebo vylúčená úplná funkcionalita niektorých častí prehliadanej webovej stránky.

Modul tlačidlový TT10 - 4FN 230 37 
4FN 230 37 95.82 € s DPH
(77.90 € bez DPH)

  • Číslo v katalógu: 5
Modul tlačidlový TT10 - 4FN 230 37

Popis výrobku

Modul tlačidiel obsahuje 10 účastníckych tlačidiel s menovkami pre vyzvonenie príslušných domácich telefónov.


- vyzváňacie tlačidlá: 10
- bez tlačidla podsvetlenia
- počet osvetľovacích LED diód: 5 


Stavebnicový systém

Stavebnicový systém DDS Guard umožňuje zostaviť tlačidlové tablo s rôznym počtom účastníckych tlačidiel. Zostava môže obsahovať podľa potreby 1, resp. 2, 3 účastnícke tlačidlá - podľa typu EV a ďalšie kombinácie s 5 a 10 tlačidlovými modulmi. Každá z týchto zostáv môže byť pre montáž povrchovú (nad omietku) alebo zápustnú (pod omietku), so strieškou alebo bez striešky.
 
 

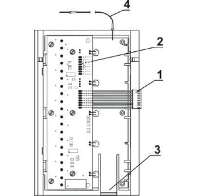
Popis - foto2
1 - vodič s konektorom na prepojenie k EV alebo
   k predchádzajúcemu tlačidlovému tablu
2 - konektor na pripojenie nasledujúceho tlačidlového bloku
3 - západka na uvoľnenie ochranného skla a menovky
4 - montážna šnúra

Povrchová úprava
Jednotlivé diely elektrického vrátnika/tlačidlového tabla DDS GUARD sú vyrábané z hrubostenného eloxovaného hliníkového profilu, preto nie sú náchylné na koróziu.
 

 


MOHLO BY VÁS ZAUJÍMAŤ

Potrebujete poradiť pri výbere? Navštívte našu predajňu, alebo nás kontaktujte.